lct Posted October 2, 2019 Share #201 Posted October 2, 2019 Advertisement (gone after registration) Incorporating a hybrid finder would not be possible without altering the M dimensions according to Leica. See https://tinyurl.com/yy75dltp. Link to post Share on other sites More sharing options...
Advertisement Posted October 2, 2019 Posted October 2, 2019 Hi lct, Take a look here To EVF or Rangfinder. I'm sure you'll find what you were looking for!
Jeff S Posted October 3, 2019 Share #202 Posted October 3, 2019 (edited) 1 hour ago, lct said: Incorporating a hybrid finder would not be possible without altering the M dimensions according to Leica. See https://tinyurl.com/yy75dltp. Jesko, M Product Manager, said attempts so far made it too thick (post 176). Jeff Edited October 3, 2019 by Jeff S Link to post Share on other sites More sharing options...
evikne Posted October 3, 2019 Share #203 Posted October 3, 2019 (edited) A solution like the one I suggested would perhaps be easier to fit into an M body, because it is not a hybrid. It is a fully electronic solution with no moving parts. It only emulates a RF, while keeping the best from both worlds. The transparent viewfinder will have no lag at all when in "rangefinder mode". Only the split image overlay in the middle will be electronic. Of course it can also emulate the frame lines. I think and guess this is a natural evolution of the M cameras that will come sooner or later. Edited October 3, 2019 by evikne 2 1 Link to post Share on other sites More sharing options...
setuporg Posted October 3, 2019 Share #204 Posted October 3, 2019 6 hours ago, evikne said: Only the split image overlay in the middle will be electronic. Of course it can also emulate the frame lines. I think and guess this is a natural evolution of the M cameras that will come sooner or later. "My name is no, my sign is no, my answer is no, you have to let it go, you have to let it go!" -- if Oscar Barnack could sing an American hit response from heaven... Or, as the Statue of Liberty inscription might read, Give me your tired, your natural, your unmediated, your free range, your organic photons!:) Link to post Share on other sites More sharing options...
evikne Posted October 3, 2019 Share #205 Posted October 3, 2019 We should have a guessing contest or a poll: "What will the future M camera look like?". 😄 Link to post Share on other sites More sharing options...
Matlock Posted October 3, 2019 Share #206 Posted October 3, 2019 13 minutes ago, evikne said: We should have a guessing contest or a poll: "What will the future M camera look like?". 😄 1 Link to post Share on other sites More sharing options...
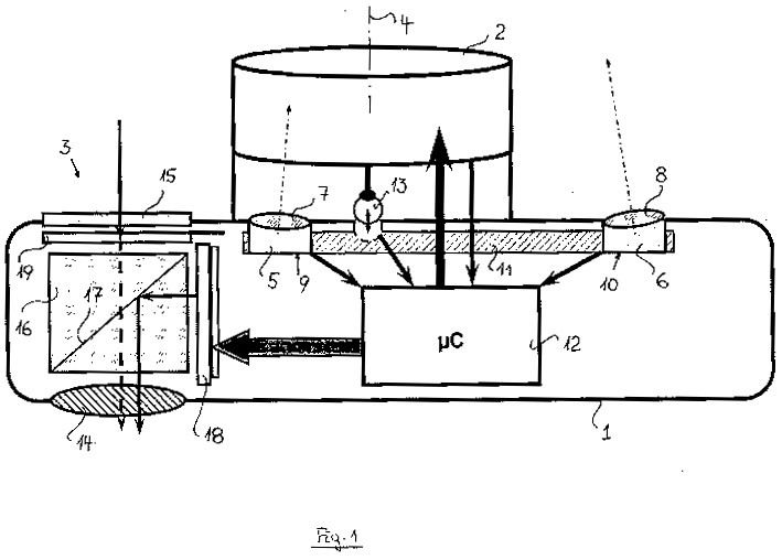
lct Posted October 3, 2019 Share #207 Posted October 3, 2019 Advertisement (gone after registration) 7 hours ago, evikne said: A solution like the one I suggested would perhaps be easier to fit into an M body, because it is not a hybrid. It is a fully electronic solution with no moving parts. It only emulates a RF, while keeping the best from both worlds. The transparent viewfinder will have no lag at all when in "rangefinder mode". Only the split image overlay in the middle will be electronic. Of course it can also emulate the frame lines. I think and guess this is a natural evolution of the M cameras that will come sooner or later. You mean something like this Leica patent?https://patents.google.com/patent/DE102012009975B4/en Welcome, dear visitor! As registered member you'd see an image here… Simply register for free here – We are always happy to welcome new members! Link to post Share on other sites Simply register for free here – We are always happy to welcome new members! ' data-webShareUrl='https://www.l-camera-forum.com/topic/300335-to-evf-or-rangfinder/?do=findComment&comment=3830309'>More sharing options...
evikne Posted October 3, 2019 Share #208 Posted October 3, 2019 8 minutes ago, lct said: You mean something like this Leica patent?https://patents.google.com/patent/DE102012009975B4/en Welcome, dear visitor! As registered member you'd see an image here… Simply register for free here – We are always happy to welcome new members! Well, maybe something like that. I'm not very technically skilled and leave it to others to figure out how it can be implemented. Link to post Share on other sites More sharing options...
jankap Posted October 3, 2019 Share #209 Posted October 3, 2019 What about lenses beyond 135mm? Where 135mm already is inside guessing what the picture will show in case of an OVF. And what about lenses smaller than 28mm? Link to post Share on other sites More sharing options...
evikne Posted October 3, 2019 Share #210 Posted October 3, 2019 (edited) 15 minutes ago, jankap said: What about lenses beyond 135mm? Where 135mm already is inside guessing what the picture will show in case of an OVF. And what about lenses smaller than 28mm? The viewfinder could also be an ordinary EVF that shows the actual exposure, crop and depth of field. With a button you could cycle through different viewing modes and choose what suits you best. A third mode could combine both: a digital image with a RF split image overlay for a fast and accurate focusing. Edited October 3, 2019 by evikne 1 Link to post Share on other sites More sharing options...
calijax Posted October 3, 2019 Share #211 Posted October 3, 2019 Can't wait to look back on this thread when they release the EVF M and call it the future of the product line. 2 Link to post Share on other sites More sharing options...
setuporg Posted October 3, 2019 Share #212 Posted October 3, 2019 1 hour ago, calijax said: Can't wait to look back on this thread when they release the EVF M and call it the future of the product line. ... or, as a Russian saying goes, “when a crawdad will sing from a mountain.” 1 Link to post Share on other sites More sharing options...
setuporg Posted October 3, 2019 Share #213 Posted October 3, 2019 2 hours ago, lct said: You mean something like this Leica patent?https://patents.google.com/patent/DE102012009975B4/en Welcome, dear visitor! As registered member you'd see an image here… Simply register for free here – We are always happy to welcome new members! I wonder if Fuji’s paying royalties to Leica on X-Pro system. Anyways hybrid OVF/EVF lovers can already enjoy that pioneering lineup, with corner/picture-in-picture like inset hybrid or switcheable one. Fuji really nailed it. Heck perhaps you could use an M-XF adapter and get that small camera y’all MEVF folks are dreaming about!:) Link to post Share on other sites More sharing options...
calijax Posted October 3, 2019 Share #214 Posted October 3, 2019 2 minutes ago, setuporg said: ... or, as a Russian saying goes, “when a crawdad will sing from a mountain.” Fair enough. A little known fact about crayfish is that they can produce sound in and out of the water.https://bernheim.org/you-say-crawfish-we-say-crayfish/ 1 Link to post Share on other sites More sharing options...
setuporg Posted October 3, 2019 Share #215 Posted October 3, 2019 1 minute ago, calijax said: Fair enough. A little known fact about crayfish is that they can produce sound in and out of the water.https://bernheim.org/you-say-crawfish-we-say-crayfish/ Thanks for sharing that — I love how this forum educates us all every day!:). BTW I remembered this saying, which in the original says “when a crawdad will whistle on a mountain”, because Putin just answered with it to a journalist asking when Russia will start behaving in a good way — but that’s another story altogether.:). I wonder now if the whistling sound is what they make and if in fact it means a non-zero probability. Which is good both for Russia and the MEVF lovers.:) 1 Link to post Share on other sites More sharing options...
lct Posted October 4, 2019 Share #216 Posted October 4, 2019 11 hours ago, setuporg said: I wonder if Fuji’s paying royalties to Leica on X-Pro system. Little chance given that the Leica patent is about a digital rangefinder while there is no rangefinder in the hybrid Fuji finder. 1 Link to post Share on other sites More sharing options...
lct Posted October 4, 2019 Share #217 Posted October 4, 2019 12 hours ago, setuporg said: Anyways hybrid OVF/EVF lovers can already enjoy that pioneering lineup, with corner/picture-in-picture like inset hybrid or switcheable one. Fuji really nailed it. Heck perhaps you could use an M-XF adapter and get that small camera y’all MEVF folks are dreaming about!:) We have the digital CL already and the Fuji sensor stack is too thick for M wides. Been there with the X-E2. Good little camera otherwise but as far as M lenses are concerned, it cannot compete with the CL. Now those are both APS-C cameras not FF ones like M bodies so the Fuji adapter cannot do miracles there as good as it may be. 1 Link to post Share on other sites More sharing options...
Prosophos Posted October 5, 2019 Share #218 Posted October 5, 2019 To answer the question in the original post: Rangefinder (Please Leica don’t mess with that.) —Peter. 1 Link to post Share on other sites More sharing options...
jdlaing Posted October 5, 2019 Share #219 Posted October 5, 2019 Kind of academic now. The OP sold his M. Link to post Share on other sites More sharing options...
farnz Posted October 5, 2019 Share #220 Posted October 5, 2019 1 hour ago, jdlaing said: Kind of academic now. The OP sold his M. Looks like he's 'left the building' too. Pete. Link to post Share on other sites More sharing options...
Recommended Posts
Create an account or sign in to comment
You need to be a member in order to leave a comment
Create an account
Sign up for a new account in our community. It's easy!
Register a new accountSign in
Already have an account? Sign in here.
Sign In Now