cirke Posted July 8, 2016 Author Share #101 Posted July 8, 2016 Advertisement (gone after registration) taking up 75% of the frame. it seems difficult because an EVF see through the lens Link to post Share on other sites More sharing options...
Advertisement Posted July 8, 2016 Posted July 8, 2016 Hi cirke, Take a look here no rumors. I'm sure you'll find what you were looking for!
dkmoore Posted July 9, 2016 Share #102 Posted July 9, 2016 isn't the magnification one of the more important functions of both? I am curious why both optical and electronic are typically between 60-80% of live. There obviously is a realistic/scientific reason for this but I have not read anything about it. Clearly clarity, contract, brightness, etc is extremely important and technology has caught up with optical, or close there to. I love my M cameras but I am certainly open to change as long as I get the same inspiration and feeling out of the camera. Sometimes that is hard to swallow come change. I get Erick's points for sure. I would love to have both options in one for when each is needed/desired. Link to post Share on other sites More sharing options...
harmen Posted July 9, 2016 Share #103 Posted July 9, 2016 it seems difficult because an EVF see through the lens Hence wondering if a small sensor where the viewfinder window sits could capture a wider scene, which could be used for showing what the sensor behind the lens can't see. Eventually you'd end up with 3 sensors: the main full frame for interchangeable lens, one to replace the viewfinder, and one to replace the second part of the range finder. You can then mix all of these images together on the screen of an ERVF. Link to post Share on other sites More sharing options...
cirke Posted July 9, 2016 Author Share #104 Posted July 9, 2016 Hence wondering if a small sensor where the viewfinder window sits could capture a wider scene, which could be used for showing what the sensor behind the lens can't see. Eventually you'd end up with 3 sensors: the main full frame for interchangeable lens, one to replace the viewfinder, and one to replace the second part of the range finder. You can then mix all of these images together on the screen of an ERVF. in theory maybe but I cannot imagine it to come on a camera Link to post Share on other sites More sharing options...
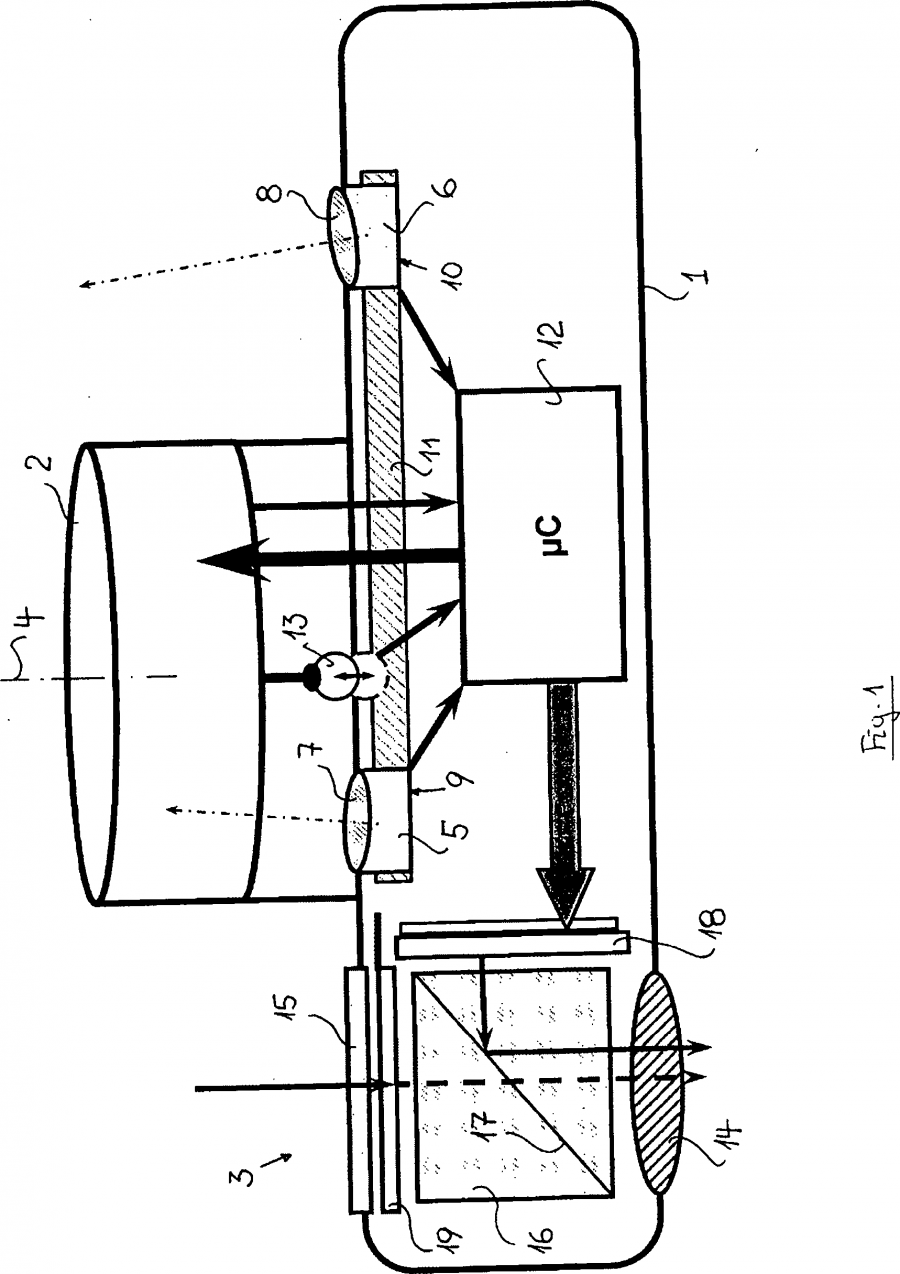
Tailwagger Posted July 9, 2016 Share #105 Posted July 9, 2016 Again, if you follow the link earlier in this thread, this is what you see. Two added optical devices and what appears to be electronic position detection of the focusing mechanism. Pretty much what you'd expect. The EVF mechanism appears to prismatically superimpose, very XPro like, the focusing view on the OVF, a notion bolstered by the fact that it s described as a hybrid mechanism. Link to post Share on other sites More sharing options...
cirke Posted July 9, 2016 Author Share #106 Posted July 9, 2016 then in 2 months and a few minutes ? :-) Link to post Share on other sites More sharing options...
AlanJW Posted July 9, 2016 Share #107 Posted July 9, 2016 Advertisement (gone after registration) it seems difficult because an EVF see through the lens An EVF "sees" what the sensor sees, but technically is not through the lens. It is just pulling electronic data (that is also going to the sensor) and shows it, so there must be ways for clever technology people to use that as part of an electronically aided optical rangefinder. Or am I missing something? Link to post Share on other sites More sharing options...
pop Posted July 9, 2016 Share #108 Posted July 9, 2016 An EVF usually sees the image projected by the (one and only) lens of the camera, hence, through the lens. The electronic range finder described by the sketch above shows a composite image projected by two different lenses, none of them the main lens of the camera. Link to post Share on other sites More sharing options...
jdlaing Posted July 9, 2016 Share #109 Posted July 9, 2016 You've almost got it Pop. What you see in an EVF is the output from the sensor after metering and when the processing engine goes through with it. Link to post Share on other sites More sharing options...
pop Posted July 9, 2016 Share #110 Posted July 9, 2016 You've almost got it Pop. What you see in an EVF is the output from the sensor after metering and when the processing engine goes through with it. If you want to pick nits, you also ought to mention an LCD and a mirror and a lens or two between the LCD in the EVF and the eye. I merely pointed out that - technically speaking - the EVF qualified as through-the-lens viewing. Link to post Share on other sites More sharing options...
lct Posted July 9, 2016 Share #111 Posted July 9, 2016 Technically, optically, psychologically, ontologically, philosophically and, dare i say, metaphysically speaking any EVF is a TTL device as opposed to any rangefinder Link to post Share on other sites More sharing options...
jdlaing Posted July 10, 2016 Share #112 Posted July 10, 2016 If you want to pick nits, you also ought to mention an LCD and a mirror and a lens or two between the LCD in the EVF and the eye. I merely pointed out that - technically speaking - the EVF qualified as through-the-lens viewing. But it doesn't qualify as thru the lens viewing. Not at all. Link to post Share on other sites More sharing options...
jaapv Posted July 10, 2016 Share #113 Posted July 10, 2016 Why not? I don't see a philosophical difference between lens-mirror-screen-pentaprism-ocular and lens-sensor-electronics-screen-ocular. I think you should make the division between TTL optical projection and TTL electronic projection. But both look through the lens. Link to post Share on other sites More sharing options...
jdlaing Posted July 10, 2016 Share #114 Posted July 10, 2016 Simply because you are not looking through the lens. You are seeing the proceeded image of what was seen through the lens by the camera sensor. Link to post Share on other sites More sharing options...
jaapv Posted July 10, 2016 Share #115 Posted July 10, 2016 So on an SLR your are seeing a projected image on a screen through a mirror. Difference? You are always looking at a screen, never through the lens. Link to post Share on other sites More sharing options...
-Lss- Posted July 10, 2016 Share #116 Posted July 10, 2016 Simply because you are not looking through the lens. You are seeing the proceeded image of what was seen through the lens by the camera sensor. But you are looking through the lens. The latter part means the view is not optical. EVF, of course, may show you a Youtube video instead of the TTL view should the manufacturer consider that a useful feature. And you may view the menu or browse your images. The EVF is thus not always operating in the TTL mode, but it very much is a TTL technology. Link to post Share on other sites More sharing options...
MarkP Posted July 10, 2016 Share #117 Posted July 10, 2016 Welcome, dear visitor! As registered member you'd see an image here… Simply register for free here – We are always happy to welcome new members! Link to post Share on other sites Simply register for free here – We are always happy to welcome new members! ' data-webShareUrl='https://www.l-camera-forum.com/topic/262301-no-rumors/?do=findComment&comment=3076595'>More sharing options...
jaapv Posted July 10, 2016 Share #118 Posted July 10, 2016 You are not looking through the lens. You are looking at an image that is projected onto the screen by a mirror.. Link to post Share on other sites More sharing options...
Peter H Posted July 10, 2016 Share #119 Posted July 10, 2016 Any rumours about a new M? Link to post Share on other sites More sharing options...
ramarren Posted July 10, 2016 Share #120 Posted July 10, 2016 Any rumours about a new M? I don't quite understand the silliness of debating whether looking at the projected image of a lens via an optical reflex finder vs an electronic imaging system is or is not "through the lens viewing". It's obviously looking at the image formed by the lens, which is what through the lens viewing was all about. I haven't heard any rumors about a new M other than the same that everyone else here has heard. Everything from a radical departure to nothing at all. But, honestly, none of it is important to me. With the release of the M-D typ 262, I feel Leica has introduced the best and ultimate Leica M digital camera: true to its roots as the utterly simple, direct, expedient picture-taking machine that the M3 was in in 1953. More pixels, more dynamic range, more sensitivity ... All would be nice, but it's good enough just as it is. More features, more this and that, EVF, etc ... Well, there are other models with more, but (since I own them too) they don't actually make the M any better than the M-D is already; not for me anyway. As far as digital Ms go, the M-D is as good as it gets for me. If I want more features then that, I pick up the SL. Having owned and used that nearly exclusively for more than half a year, the SL is the electronic, TTL camera that replaces the R series and poses that superb balance of format size, resolution, speed, and versatility that made the 35mm SLR the working standard camera of so many photographers. The "mores" listed above apply to it just as much as they apply to the M: would be nice, but good enough just as it is. What the SL lacks at this date is the range of native lens choices that it ought to have, and that's where I'd like to see Leica put its development money rather than in other, less important things. They've fulfilled the modern standard "two lenses that cover most bases" with the 24-90 and 90-280, and a 50 is coming, but I would like to see native 15, 19, 24, 35, 50, 70, 90, 150, et cetera, in both fast and medium speed versions, so that I as a user have more choice in full function lenses that can take advantage of all SL features. That would be far more exciting to me than endless revisions to the near-perfect-in-original-form Leica M, which lives on in remarkable fidelity, including improvements, with the digital M-D typ 262. Link to post Share on other sites More sharing options...
Recommended Posts
Archived
This topic is now archived and is closed to further replies.